 
                                        玻璃板液位計
- RZ-UB係列玻璃板液位計可用來直接指示密封容器中的液位高度,具有結構簡單,直觀可靠,經久耐用等優點,但容器中的介質必須是與鋼、鋼紙及石墨壓環不起腐蝕作用的。適用於化工、石油等工業低溫設備的液位指示裝···
 在線谘詢 在線谘詢

- 質量穩定
- 價格合理
- 交貨快捷
- 国产麻豆视频免费观看儀表為您提供全套液位計係列解決方案
- 銷售:0517-86917118 15601403222 、 13915181149
- 傳真:0517-86917118
- 地址:江蘇省淮安市金湖縣金荷路201號
 
                                         在線谘詢
 在線谘詢
RZ-UB係列玻璃板液位計可用來直接指示密封容器中的液位高度,具有結構簡單,直觀可靠,經久耐用等優點,但容器中的介質必須是與鋼、鋼紙及石墨壓環不起腐蝕作用的。適用於化工、石油等工業低溫設備的液位指示裝置。
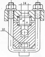
	一、玻璃板液位計產品結構
	儀表的上下閥上裝有法蘭接頭,與容器連接構聯通器,透過玻璃板直接指示容器布什的液位,“夾套型”設有加熱或冷卻裝置。該裝置加熱時可用蒸氣,冷卻時可用循環水,這樣可以調節流動性能,夾套型接管尺寸ZG1/4內螺紋。在上下閥內裝有鋼球,當玻璃板因意外事故破壞時,鋼球在容器壓力作用下,自動密封,防止容器內的液體繼續外流。在儀表的上端針形閥裝有阻塞螺釘,可供放氣之用,下端針形閥也裝有阻塞螺釘。可供放空、取樣、排汙、清洗。
	二、玻璃板液位計技術數據
	1、針形閥的自動關閉壓力    ≥0.2MPa 
	2、夾套蒸氣壓力為       ≤0.6MPa
	3、玻璃板的急變溫差為     ≤240℃
注:我廠承接特殊規格的定貨。
三、玻璃板液位計產品類型
| 
					           名稱 | 
					型號 | 
					公稱壓力MPa | 
					介質溫度℃ | 
					結構特征 | 
					(規格按上、下閥中心線間距離 | 
					標準號 | ||||||
| 
					結構形式 | 
					材料 | 
					L=304 | 
					L=500 | 
					L=800 | 
					L=1100 | 
					L=1400 | 
					L=1700 | |||||
| 
					透光式玻璃板液位計 | 
					T2.5 | 
					2.5 | 
					-20~+250 | 
					普通型 | 
					I(碳鋼) II(1Cr18Ni9Ti) |  | 
					△ | 
					△ | 
					△ | 
					△ | 
					△ | 
					HG5-1364-80 | 
| 
					夾套型 | 
					I(碳鋼) II(1Cr18Ni9Ti) |  | 
					△ | 
					△ | 
					△ | 
					△ | 
					△ | |||||
| 
					T6.3 | 
					6.3 | 
					-20~+250 | 
					普通型 | 
					I(碳鋼) II(1Cr18Ni9Ti) |  | 
					△ | 
					△ | 
					△ | 
					△ | 
					△ | 
					HG5-1365-80 | |
| 
					夾套型 | 
					I(碳鋼) II(1Cr18Ni9Ti) |  | 
					△ | 
					△ | 
					△ | 
					△ | 
					△ | |||||
| 
					反射式玻璃板液位計 | 
					R4.0 | 
					4.0 | 
					-20~+250 | 
					普通型 | 
					I(碳鋼) II(1Cr18Ni9Ti) |  | 
					△ | 
					△ | 
					△ | 
					△ | 
					△ | 
					HG5-1366-80 | 
| 
					夾套型 | 
					I(碳鋼) II(1Cr18Ni9Ti) |  | 
					△ | 
					△ | 
					△ | 
					△ | 
					△ | |||||
| 
					R0.6 | 
					0.6 | 
					-20~+250 | 
					帶頸襯裏 | 
					III(碳鋼襯裏) | 
					△ |  |  |  |  |  | 
					HG5-1367-80 | |
| 
					帶頸 | 
					I(碳鋼) II(1Cr18Ni9Ti) | 
					△ △ |  |  |  |  |  | 
					HG5-1368-80 | ||||
| 
					R | 
					常壓 | 
					-20~+250 | 
					襯裏 | 
					III(碳鋼襯裏) | 
					△ △ |  |  |  |  |  | 
					HG1369-80 | |
| 
					嵌入聯接 | 
					I(碳鋼) II(1Cr18Ni9Ti) | 
					△ △ |  |  |  |  |  | 
					HG5-1370-80 | ||||
| 
 
					RZ-UB係列玻璃板液位計外型尺寸圖 
 | 
安裝、使用與維護
1、為了保證自動密超過計劃作用,容器內的介質壓力不得小於0.2MPa,在打開上下閥時,閥杆退出轉數不少於4轉(使鋼球封門時,不致於碰到閥杆的**)。